[ad_1]
Una reciente solicitud de patente de tija telescópica inalámbrica de Fox lleva la tecnología de bicicletas de montaña inteligentes a un nuevo nivel de integración. Con la visión de un mundo en el que casi todo en tu bicicleta esté controlado electrónicamente, Fox está trabajando en una tija telescópica inalámbrica que se conecta a su suspensión Dwell Valve de próxima generación, se sincroniza con tu transmisión de cambio electrónico, se empareja con todos los sensores existentes en tu bicicleta y cuerpo, e incluso agrega algunos nuevos. El objetivo closing parece ser la automatización de múltiples sistemas, ya sea vinculada a los datos de posición del GPS, a tu potencia de salida en vivo y niveles de frecuencia cardíaca, o incluso reaccionando a tus comandos de voz…
Además, este nuevo gotero agregaría un punto de caída inteligente personalizable por el usuario, además de las clásicas gotas de ajuste infinito.
Un gotero inalámbrico inteligente de Fox en desarrollo desde hace años

Hemos visto las solicitudes de patente de tijas telescópicas inalámbricas de Fox durante más de una década (la primera que recuerdo se remonta a 2013). Y el concepto básico y el aspecto visible no han cambiado mucho desde entonces: una tija telescópica que podría accionarse mecánica o electrónicamente y potencialmente conectarse a múltiples sistemas de la bicicleta. Pero en esos más de 10 años, lo que realmente ha cambiado es la incorporación de cada vez más componentes electrónicos en las bicicletas de montaña, sistemas de management más inteligentes y más posibilidades de controles integrados y automatizados.
Algunos de los controles más atrevidos que Fox podría haber ideado ahora parecen mucho más plausibles en nuestras mentes, como una tija telescópica activada por voz o incluso una tija telescópica que aprende de recorridos anteriores y baja automáticamente el sillín cuando te acercas a un descenso.
Entonces, ¿qué sabemos?


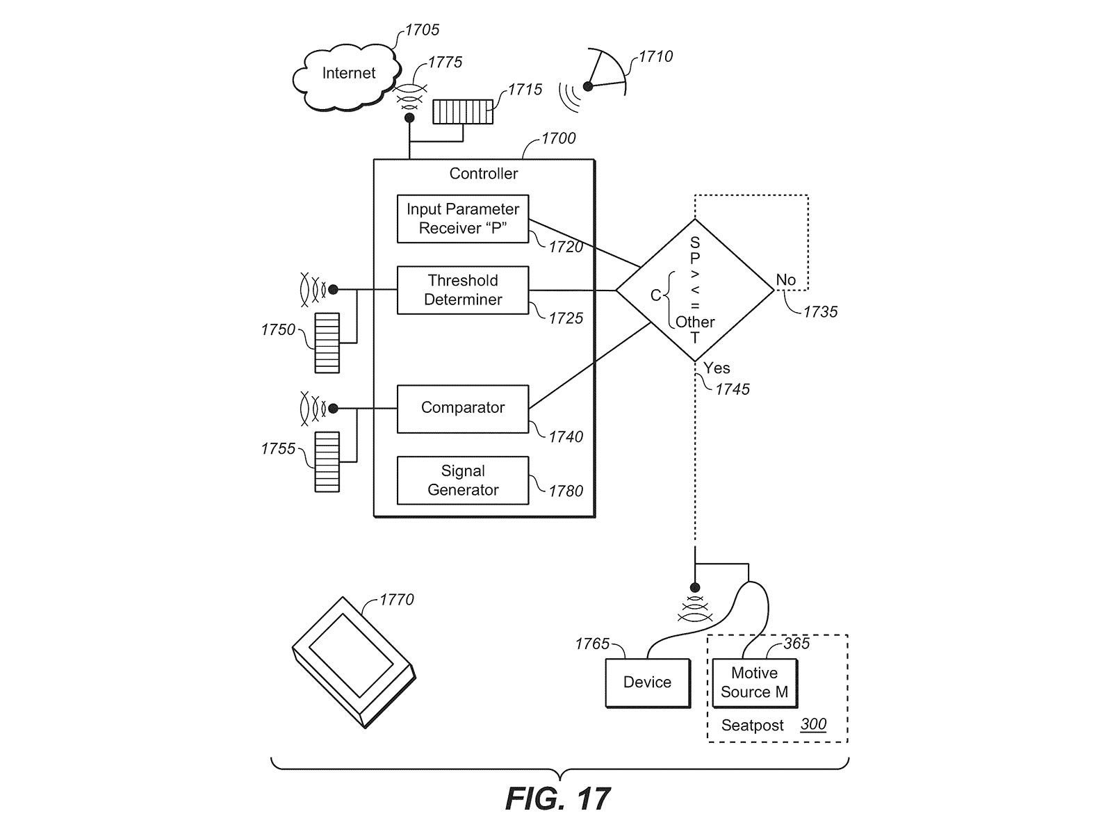
Esta nueva patente de cuentagotas inalámbrica de Fox que presentaron a principios de este año (y que se publicó este verano con el nombre US20240182131A1) curiosamente se centra más en el cambio automático que en el cuentagotas en sí. Pero la tecnología principal de cuentagotas inalámbrica de Fox ya recibió protección de patente en febrero de este año. Eso simplemente muestra un cuentagotas con un solenoide electrónico (365) en el inside de la base para abrir y cerrar las válvulas que permiten subir y bajar el gotero. Muestra posibles antenas (1402A y B) en el collar del cuentagotas y en la cabeza del poste del asiento para comunicarse con un management remoto y conectores de alimentación (1404A y B) que pueden obtener energía de baterías internas o externas.
¿Qué creo que esto sugiere? El próximo sistema de tija telescópica inalámbrica de Fox está prácticamente listo. Y ahora profundizan en los controles automatizados.
Infinito Y Gotas escalonadas


Lo que sabemos de la tija telescópica inalámbrica a partir de estas solicitudes de patente es que Fox propone una tija telescópica que se puede ajustar infinitamente y bajar hasta determinadas alturas. Lo interesante es que la tecnología para tener descensos infinitos y escalonados no es específica de las tijas telescópicas electrónicas, sino que también podría funcionar en una tija telescópica mecánica. Esto se debe a que tienen dos pares separados de válvulas y circuitos de liberación en el inside para activar cualquiera de los modos (Véase 530 A&B y 535 A&B en la figura 10-13, a continuación.). De este modo, los dos modos se pueden controlar por separado con dos palancas, una única palanca de dos etapas o con entradas secuenciales a una palanca electrónica.
Especialmente en un tubo telescópico electrónico, gracias a un sensor de posición interno, el ciclista podría preprogramar sus puntos de caída ideales. ¿Quizás le gusta que su tija esté completamente extendida para escalar, pero solo 2 cm más baja para senderos ondulados? Incluso preestablecer topes superiores e inferiores podría permitir que un fabricante de bicicletas o el usuario closing limiten el recorrido whole o la altura máxima de salida. Por ejemplo, el usuario closing podría establecer la altura de su sillín con un tope electrónico. Y podría establecer cuánto quiere que baje la tija con la caída máxima. Eso incluso permitiría a los fabricantes colocar la misma longitud máxima de tubo telescópico en todas las bicicletas, independientemente del tamaño, y aún así permitiría al comprador personalizar fácilmente su posición best en la bicicleta.


En el inside de esta tija telescópica inalámbrica, la patente de Fox también describe cómo los sensores de posición se emparejan con actuadores electrónicos para activar las 4 válvulas que se abren y cierran para permitir el movimiento vertical de la tija telescópica. Esto les permite reducir la velocidad de la tija telescópica a medida que alcanza el punto de ajuste de recorrido deseado para un movimiento más suave y paradas precisas en cualquier punto del recorrido. De esta manera, no se producen ruidos al tocar fondo o al tocar techo… ni se sobrepasan los límites de recorrido preestablecidos.
Cuentagotas emparejado con todo lo electrónico


Una gran parte de la última patente de Fox Dwell Valve El año pasado, informamos de que planea estar mucho más conectada y que más inteligente también significa más activa. Ahora, esperamos que la próxima tija telescópica inalámbrica Fox también se sume a la fiesta de la inteligencia. Estos últimos documentos de patente describen una tija telescópica estrechamente sincronizada con los controladores electrónicos de cambio y amortiguación de la suspensión.
Y los controles automáticos parecen ser su característica más importante. Sin embargo, no te preocupes, hay una descripción clara de la posibilidad de ajuste sobre la marcha y una pausa temporal en los controles automáticos cuando el ciclista realiza una acción de anulación guide. Pero parece que Fox prevé la posición de la tija telescópica, la amortiguación de la compresión de la suspensión (y de alguna manera la velocidad del resorte) y la selección de marchas, todo controlado automáticamente.
Y management automatizado del cuentagotas inalámbrico Fox desde todos los sensores


La solución de Fox incluye una unidad central de procesamiento y un controlador que recopila datos de velocidad, cadencia, medidor de potencia, frecuencia cardíaca del ciclista, ubicación GPS, aceleración vertical y sensores de inclinación. Y procesa esos datos para asegurarse de que su bicicleta esté siempre en la configuración óptima. También describen un sistema de activación por voz donde puede decir comandos para bajar o subir su asiento a una altura predeterminada, o bajarlo o subirlo por completo. Y hay descripciones de una pantalla, indicadores LED o incluso alertas audibles (¿pitidos?) que podrían confirmar en qué modo o posición se encuentra su tija telescópica.


“…el poste del asiento es accionado por un controlador diseñado para recibir y analizar la entrada asociada con la frecuencia cardíaca de un ciclista, así como las coordenadas GPS del ciclista. Por ejemplo, si el controlador recibe una entrada que describe que la frecuencia cardíaca del ciclista es inferior a un umbral preprogramado dado mientras conduce, entonces el controlador puede indicar al poste del asiento que se mueva hacia arriba o hacia abajo, lo que hace que el ritmo de trabajo y la frecuencia cardíaca del ciclista aumenten o disminuyan. En otro ejemplo, si el controlador recibe una entrada que describe que las coordenadas GPS del ciclista son tales que el ciclista está a punto de llegar a un terreno que tiene un descenso pronunciado, el controlador puede hacer que el poste del asiento baje en preparación para el descenso.
…(o) siguiendo una ruta preestablecida, por ejemplo, se pueden incorporar en el mapa de ruta una altura del poste del asiento y/o selecciones de marchas predeterminadas, o configuraciones de suspensión, y el controlador puede indicar al cambiador de altura del poste del asiento y al cambiador de marchas que cambien a la altura del poste del asiento adecuada para la ubicación y/o cambien a la marcha adecuada para la ubicación automáticamente”.
Para nosotros todo esto suena bastante salvaje.


Pero Fox ha estado trabajando en gran parte de esta tecnología desde al menos 2012, antes de que XTR llevara las bicicletas de montaña a la electrónica. con Di2 en 2014mucho antes de que SRAM impulsara la tecnología inalámbrica MTB con AXS en 2019o cuando Fox hizo realidad los controles electrónicos de suspensión Dwell Valve verano antes.
¿Entonces tal vez no sea tan descabellado como parece?
[ad_2]
